在冶金、玻璃、建材等高温工业领域,耐火材料作为热工设备的核心内衬材料,其性能直接决定设备的运行稳定性、能耗水平与使用寿命。除耐高温性、抗侵蚀性等传统关键性能外,电阻率作为表征耐火材料导电特性的核心参数,在电熔窑炉等依赖电热转换的设备中具有不可替代的技术价值。
什么是电阻率
电阻率 (Resistivity) 是用来表示各种物质电阻特性的物理量,是衡量材料抵抗电流流过的能力的指标。它是材料的固有特性,描述了每单位长度、面积或体积对电流流动的阻力。电阻率用希腊字母 (ρ)表示,单位为欧姆米(Ωm)。它不仅与物质的种类有关,还受温度、压力和磁场等外界因素影响。电阻率是材料的一种基本特性。如果在一块具有统一剖面的均质材料上施加电压和测量电流,就能通过公式R = U/I 确定电阻值。如果已知样品的剖面面积和长度,就能根据电阻测试结果计算相关材料的电阻率特性。与“电阻”的区别:尽管电阻率与电阻名称相近,但它们是截然不同的概念。电阻率反映的是物质本身对电流阻碍作用的固有属性,是材料的本质特征;而电阻体现的是物体对电流阻碍作用的外在表现,不仅与材料的电阻率相关,还取决于物体的几何形状、尺寸等因素。
电阻率的计算
由电阻公式 R=ρL/S 可以推导出电阻率的计算公式为 ρ = RS/L ,其中 R 表示电阻值,L表示电阻长度,S表示电阻的横截面积。电阻率的国际制单位是欧姆·米,写作 Ω·m ,表示横截面积为1m2、长度为1m的电阻的电阻率。常用的单位还包括 欧姆·厘米,符号:Ω·cm;欧姆·毫米,符号:Ω·mm。
电阻率的分类
电阻率一般可以分为两类,即体积电阻率与表面电阻率。体积电阻率是指材料单位体积内对电流通过的阻力大小,它主要与物质成分、温度和材料状态等因素密切相关,数值越小表示材料导电性能越好。我们通常所说的电阻率即为体积电阻率。表面电阻率是指材料单位面积内对电流通过的阻力大小,它是衡量材料表面导电性能的重要参数之一,主要与材料表面的接触条件、干净程度、形态结构等因素密切相关,数值越小表示材料表面导电性能越好。表面电阻率一般用于评价薄膜材料的性能。
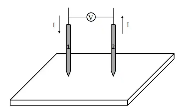
电阻率测试方法
1、两探针法两探针法又称欧姆表法,是一种结构简单的电阻率测量方法。如下图所示,两个探针与恒流源和电压表连接。由恒流源输出一个恒定电流,电压表测量两个探针间的电压,然后由欧姆定律得出电阻值。两探针法多用于大电阻和精度要求不高的情况,其原因在于导线、探针以及探针与样品的接触电阻等附加电阻通常在欧姆量级,对于大电阻测量来说附加电阻相对较小,对最终的结果影响有限。然而对于小电阻而言,附加电阻与被测样品阻值接近甚至高于被测样品阻值,因此其附加电阻会导致相当大的测量误差。
2、四探针法针对两探针方法的种种不足,开尔文男爵发展了四探针技术。其工作原理如下图所示,通常四个探针沿一条直线等间距排列,外侧两个探针(探针 1 和 4)传输电流,内侧两个探针测量电压。恒流源输出电流 I 到探针 1,电流流经样品后经探针4 流出形成电流回路。探针 2 和 3 连接电压表,测量探针两端的电压,形成电压回路。电流和电压测量不共用探针,而是由各自的一对探针形成回路。根据欧姆定律可得到样品的电阻值。电压表的内阻通常在 109 Ω 以上,因此流过电压探针 2 和 3 的电流接近零,因此探针 2 和 3 自身电阻产生的电压降也接近零,可以忽略。这样就规避了导线电阻、探针电阻以及探针与材料的接触电阻的影响,因此四探针方法比两探针法测量精度更高,适用范围更广。
相关检测标准
1、GB/T 24525-2009 《炭素材料电阻率测定方法》本标准规定了炭素材料电阻率测定的原理、仪器设备、实验步骤、允许误差等。本标准适用于炭制品和石墨制品的电阻率测试。2、YS/T 63.2-2023 《铝用炭素材料检测方法 第2部分:室温电阻率的测定》本文件规定了铝用炭素材料室温电阻率的测定。本文件适用于测定铝用炭素材料的室温电阻率,炭板、炭砖及其他炭素材料也可参照执行。

